As some of you might be aware, drone-related incidents have caused major delays in both the U.S, at the Newark Liberty International Airport, as well as in the U.K, at Gatwick Airport. These incidents were an eye-opener, showing what damage drones can make and how dangerous they can be.
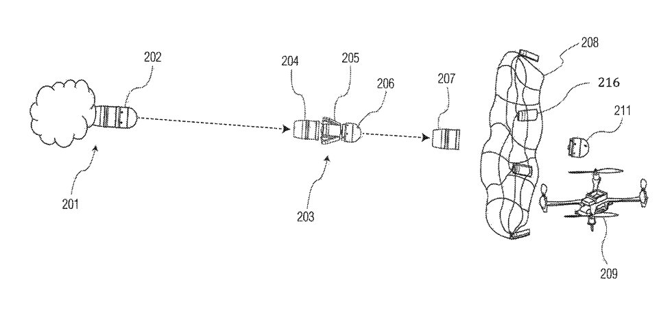
If one tech causes a problem, another one should be able to solve it, though. Enter U.S Army researchers, who have now patented and developed a 40mm grenade that can take down drones that incapacitate air traffic, present safety hazards or are, for any reason, considered ‘enemy drones’.

The grenade was patented on Tuesday and was invented by Tomasz Blyskal, Richard Fong, and LaMar Thompson of the Armament Research, Development, and Engineering Center at the Picatinny Arsenal in New Jersey.

According to the patent, as the grenade approaches the target “a signal from a control board activates a servo. The servo pulls on a central lock plunger to release a ball mechanism. This releases the ogive section, which in turn allows the ejection spring means to eject the petals and weights along with the net stowed there within.”
The technology is still in its early stages of development but considering its advantages, the concept will definitely be pushed to production.
Also Read: ✍️U.K Army Receives Bomb Disposal Robots With Haptic Feedback✍️
✍️Lockheed Martin Awarded $6.9 Million Army Contract for Exoskeleton Development✍️
Follow TechTheLead on Google News to get the news first.